Safety Grating Floor Resurfacing Products
Product Overview
Traction Tread Flooring and Grip Strut Reconditioning Material are popular floor resurfacing products. Both products provide the popular benefits of safety grating; slip resistance, lightweight material, and easy to fabricate.
Floor resurfacing products can be installed over new or existing floors or stairs.
Stock sheets or sheared to size products are available to meet specific project needs.

Floor Resurfacing Options
Traction Tread™ Flooring
ADA compliant Traction Tread Flooring has a walking surface with hundreds of perforated buttons providing slip resistance in all directions. The standard staggered button pattern pictured is available from stock and specialty patterns are available on special order.
Stock sheet size is 36” x 120” and can be sheared to size per customer specification.
Available in 11, 13, and 16 gauge carbon steel, or .125” thick aluminum.

Gauge / Thickness | Catalog No. | Weight / SF |
| HRPO Carbon Steel or Pre-Galvanized Steel | ||
| 11 ga. | TT-3611* | 5.0 lbs |
| 13 ga. | TT-3613* | 3.8 lbs |
| 16 ga. | TT-3616* | 2.5 lbs |
*Add -B catalog # of HRPO products | ||
| Aluminum Alloy 5052-H32 | ||
| 0.125″ | TT-36.125-A | 1.6 lbs |
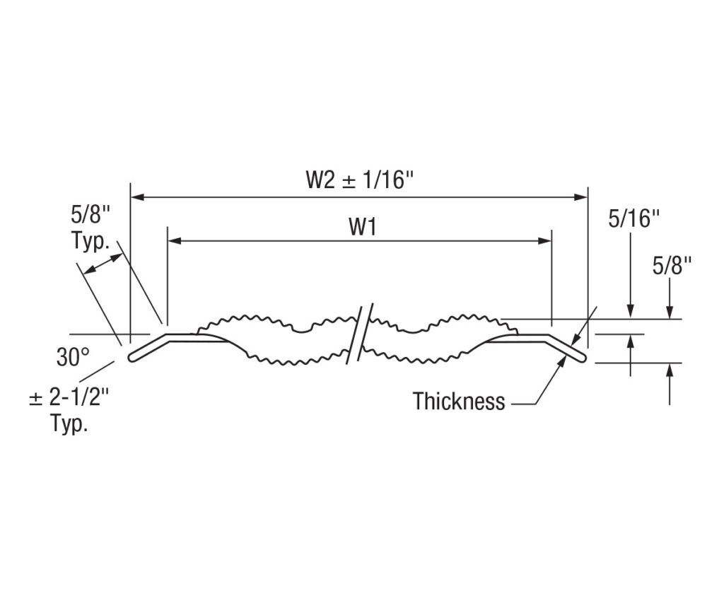
Grip Strut® Reconditioning Material
The standard Grip Strut serrated, open-diamond matrix walking surface provides maximum slip resistance when Grip Strut Reconditioning Material is selected. Popular for uses where liquids and lubricants commonly spill onto floors or platforms.
Standard widths include 6-1/4, 8-9/16, 10-7/8, 13-3/16, 20-1/8, and 24-3/4 inches
Available in 12 or 14 gauge carbon steel, 16 gauge stainless steel, or .100 and .080 thick aluminum.


| Dimension | 2-Diamond | 3-Diamond | 4-Diamond |
| W1 | 5-3/16″ | 7-1/2″ | 9-13/16″ |
| W2 | 6-1/4″ | 8-9/16″ | 10-7/8″ |
| Dimension | 5-Diamond | 8-Diamond | 10-Diamond |
| W1 | 12-1/8″ | 19-1/16″ | 23-11/16″ |
| W2 | 13-3/16″ | 20-1/8″ | 24-3/4″ |




